Доступно шт: 52
Ви можете отримати знижку в нашому інтернет-магазині, якщо пройдете реєстрацію та будете отримувати новини від нас
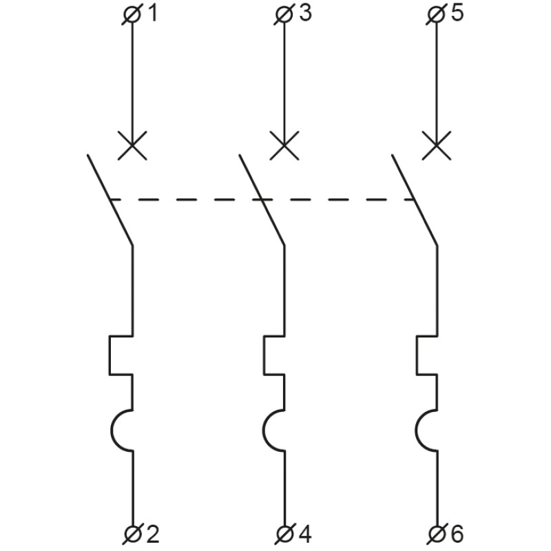
Призначені для оперативних комутацій та захисту низьковольтних електричних кіл від тривалих струмових перевантажень і струмів короткого замикання. Перевірений часом механізм розчіплення, що забезпечує високу вимикаючу здатність., Основа рухомих контактів усіх номіналів, а також нерухомих контактів і затискачі вимикачів номіналом 40…63А виготовлені з міді. Нерухомі контакти і затискачі менших номіналів – латунні., На нерухомих контактах вимикачів усіх номіналів і на рухомих контактах номіналів 32…63А присутні напайки, виготовлені з композиту із вмістом срібла 79%, що забезпечує високу вимикаючу здатність та низький перехідний опір контактів. Розмір напайки у вимикачів номіналом 1…32А – 3×3мм2, номіналом 40…63А – 4×4мм2., Можливість верхнього під'єднання проводу, штирьової та вилочної шини завдяки універсальним контактним затискачам., Відсутність заглушок у місцях приєднання додаткового обладнання полегшує монтаж.
| Основні | |
| Призначення | Призначені для оперативних комутацій та захисту низьковольтних електричних кіл від тривалих струмових перевантажень і струмів короткого замикання. |
| Відповідність стандартам | ДСТУ EN 60898-1 |
| Кількість в упаковці, шт | 4 |
| Режим експлуатації | тривалий |
| Зносостійкість електрична, циклів | 6000 |
| Номінальний робочий струм Ie, A | 20 |
| Об'єм, кг | 0.00032 |
| Номінальна робоча напруга Ue, В | AC 400 |
| Діапазон перерізів приєднувальних проводів, мм² | 1...16 (багатожильний), 1...25 (монолітний) |
| Кількість в ящику, уп | 20 |
| Номінальна напруга ізоляції Ui, В | 500 |
| Кількість полюсів | 3 |
| Перевага 1 | Перевірений часом механізм розчіплення, що забезпечує високу вимикаючу здатність. |
| Номінальна імпульсна напруга Uimp, кВ | 4 |
| Номінальна вимикальна здатність Icn, кА | 6 |
| Перевага 2 | Основа рухомих контактів усіх номіналів, а також нерухомих контактів і затискачі вимикачів номіналом 40…63А виготовлені з міді. Нерухомі контакти і затискачі менших номіналів – латунні. |
| Перевага 3 | На нерухомих контактах вимикачів усіх номіналів і на рухомих контактах номіналів 32…63А присутні напайки, виготовлені з композиту із вмістом срібла 79%, що забезпечує високу вимикаючу здатність та низький перехідний опір контактів. Розмір напайки у вимикачів номіналом 1…32А – 3×3мм2, номіналом 40…63А – 4×4мм2. |
| Перевага 4 | Можливість верхнього під'єднання проводу, штирьової та вилочної шини завдяки універсальним контактним затискачам. |
| Ступінь захисту | IP 20 |
| Температура експлуатації, °С | - 25 ... + 55 |
| Вага, кг | 0.282 |
| Перевага 5 | Відсутність заглушок у місцях приєднання додаткового обладнання полегшує монтаж. |
| Часострумова характеристика | С |
| Кількість в ящику, шт | 80 |
| Перевага 7 | Шість стяжок збільшують жорсткість конструкції. |
